¿Sabías que desde tu ropa hasta los empaques de tu... Mostrar más
Inscríbete para ver los apuntes¡Es gratis!
Acceso a todos los documentos
Mejora tus notas
Únete a millones de estudiantes
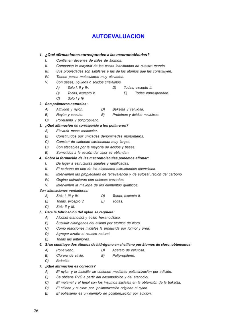
Knowunity AI
Asignaturas
Triangle Congruence and Similarity Theorems
Triangle Properties and Classification
Linear Equations and Graphs
Geometric Angle Relationships
Trigonometric Functions and Identities
Equation Solving Techniques
Circle Geometry Fundamentals
Division Operations and Methods
Basic Differentiation Rules
Exponent and Logarithm Properties
Mostrar todos los temas
Human Organ Systems
Reproductive Cell Cycles
Biological Sciences Subdisciplines
Cellular Energy Metabolism
Autotrophic Energy Processes
Inheritance Patterns and Principles
Biomolecular Structure and Organization
Cell Cycle and Division Mechanics
Cellular Organization and Development
Biological Structural Organization
Mostrar todos los temas
Chemical Sciences and Applications
Atomic Structure and Composition
Molecular Electron Structure Representation
Atomic Electron Behavior
Matter Properties and Water
Mole Concept and Calculations
Gas Laws and Behavior
Periodic Table Organization
Chemical Thermodynamics Fundamentals
Chemical Bond Types and Properties
Mostrar todos los temas
European Renaissance and Enlightenment
European Cultural Movements 800-1920
American Revolution Era 1763-1797
American Civil War 1861-1865
Global Imperial Systems
Mongol and Chinese Dynasties
U.S. Presidents and World Leaders
Historical Sources and Documentation
World Wars Era and Impact
World Religious Systems
Mostrar todos los temas
Classic and Contemporary Novels
Literary Character Analysis
Rhetorical Theory and Practice
Classic Literary Narratives
Reading Analysis and Interpretation
Narrative Structure and Techniques
English Language Components
Influential English-Language Authors
Basic Sentence Structure
Narrative Voice and Perspective
Mostrar todos los temas
292
•
Actualizado Apr 28, 2026
•
Mayte Carmona
@maytecarmona
¿Sabías que desde tu ropa hasta los empaques de tu... Mostrar más























































Imagínate que las moléculas fueran como bloques de LEGO: las moléculas pequeñas serían construcciones simples de 2 a 50 piezas, mientras que las macromoléculas serían castillos gigantes con miles de piezas. Las moléculas pequeñas forman el agua que bebes y el aire que respiras, pero las macromoléculas crean cosas increíbles como el plástico de tu celular o las fibras de tu ropa.
Lo fascinante es que cuando juntas moléculas pequeñas para formar una macromolécula, las propiedades cambian completamente. Es como mezclar ingredientes para hacer un pastel: el resultado final no se parece en nada a los ingredientes originales.
Las macromoléculas se dividen en dos grandes familias: los polímeros naturales (como el almidón en las papas o las proteínas en la carne) y los polímeros sintéticos (como el nylon de tu mochila o el PVC de las tuberías). Ambos tipos están formados por cadenas larguísimas de átomos, principalmente de carbono.
Dato curioso: Una sola macromolécula puede contener ¡varios millones de átomos!

¿Por qué los polímeros son tan geniales? Sus propiedades únicas los convierten en superhéroes de los materiales. Son como armaduras químicas: resisten ácidos, bases y el clima sin problema. Además, aguantan el desgaste y se pueden colorear fácilmente.
La magia está en su estructura. Cuando calientas un plástico, se vuelve moldeable como plastilina, permitiendo crear formas increíbles. Algunos son maleables (se convierten en láminas delgadas) y otros son dúctiles (se estiran en hilos súper finos, perfectos para textiles).
Una ventaja enorme es que la mayoría no conduce electricidad ni calor, por eso los cables están cubiertos de plástico y usamos recipientes plásticos para comida caliente. Han reemplazado materiales tradicionales como madera, vidrio y metal en muchas aplicaciones.
Tip de estudio: Recuerda que las propiedades especiales vienen de su estructura de cadenas largas, no de los átomos individuales.

El átomo de carbono es el arquitecto principal de las macromoléculas. ¿Por qué? Tiene dos superpoderes: tetravalencia (puede formar cuatro enlaces) y autosaturación (puede unirse con otros carbonos infinitamente). Es como tener piezas de LEGO que se conectan perfectamente entre sí.
Existen tres tipos de estructuras: lineales (como una cadena recta), ramificadas (como un árbol con ramas) y entrecruzadas (como una red de pescador). Cada estructura le da propiedades diferentes al material final.
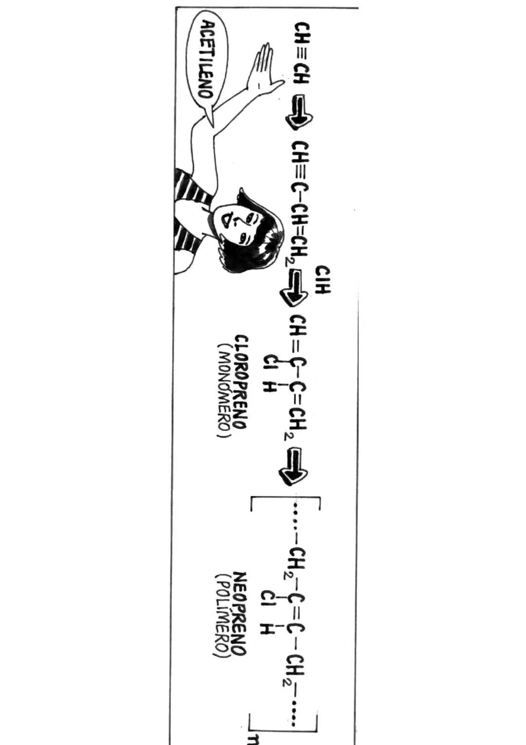
La construcción es sorprendentemente simple: solo necesitas 8 elementos químicos (carbono, hidrógeno, oxígeno, nitrógeno, azufre, cloro, flúor y silicio) para crear miles de materiales diferentes. Es como tener una caja de herramientas básica que puede construir desde una casa hasta un avión.
Concepto clave: Cambiar la estructura (lineal, ramificada o entrecruzada) es como cambiar la receta: obtienes productos completamente diferentes.

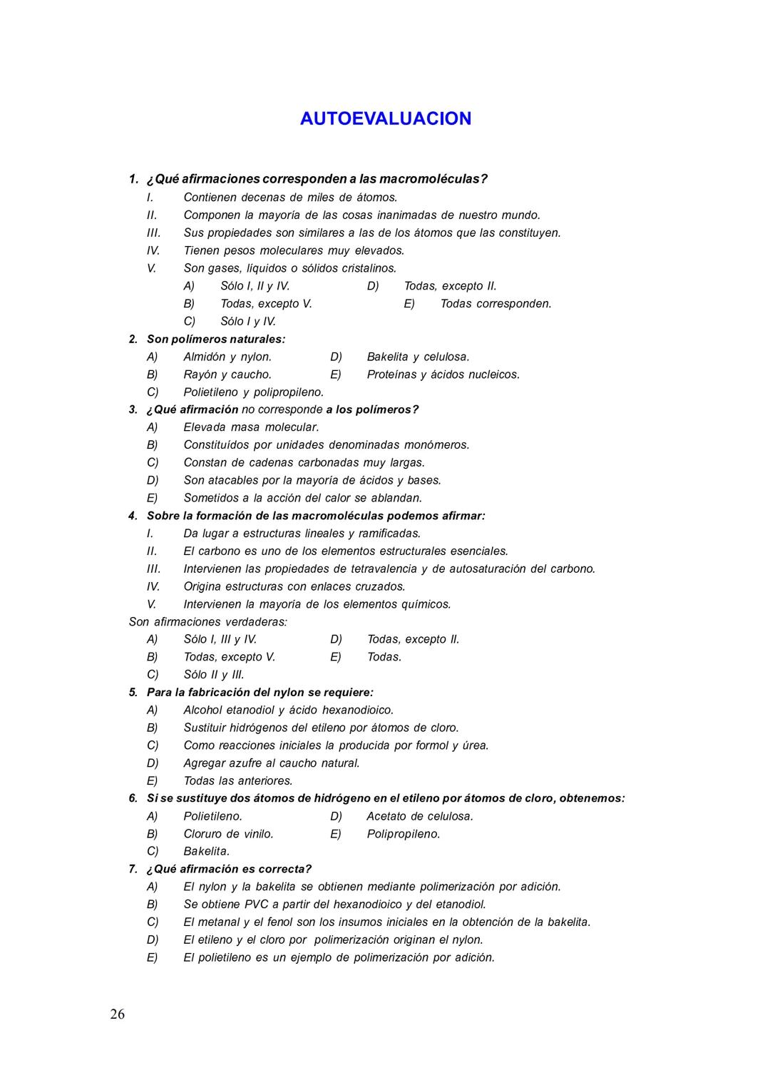
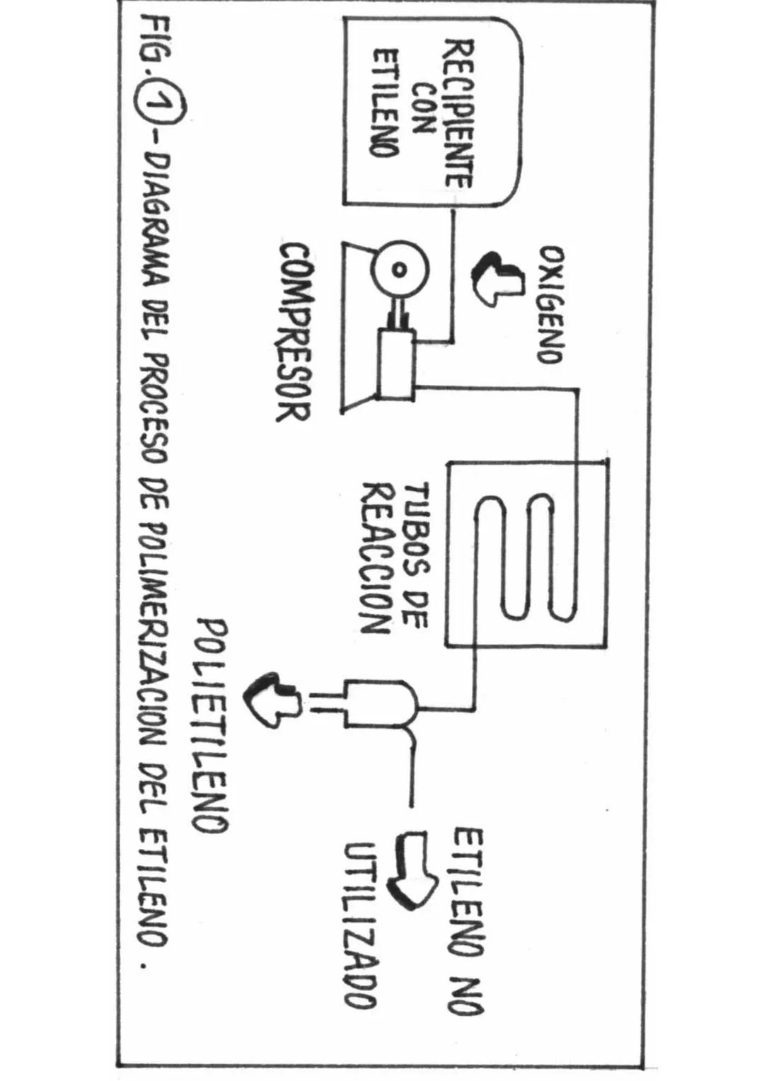
Los químicos han desarrollado dos estrategias principales para crear macromoléculas: polimerización por adición y polimerización por condensación. Son como dos recetas de cocina diferentes para el mismo objetivo.
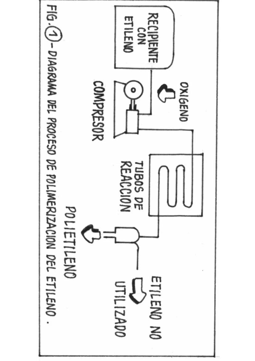
En la polimerización por adición, las moléculas se enganchan como vagones de tren. El polietileno (bolsas plásticas) se hace así: las moléculas de etileno se conectan una tras otra bajo alta presión y temperatura. Es un proceso continuo que funciona como una fábrica automatizada.
La polimerización por condensación es diferente: las moléculas reaccionan y "botan" moléculas pequeñas como agua. La baquelita se forma así cuando el fenol reacciona con formaldehído, liberando agua en el proceso. Es como armar un rompecabezas donde sobran piezas.
Un ejemplo práctico que puedes hacer en casa: mezclar formol con urea y unas gotas de ácido sulfúrico. La mezcla se endurece súbitamente porque se están formando macromoléculas. ¡Es química en acción!
Para recordar: Adición = moléculas se suman; Condensación = moléculas reaccionan y eliminan agua.

¿Qué pasa cuando un polímero natural no tiene exactamente las propiedades que necesitas? ¡Lo modificas! Es como personalizar tu celular: mantienes la estructura básica pero cambias las características.
La celulosa del algodón se puede transformar en acetato de celulosa para hacer fibras textiles diferentes. El caucho natural se puede tratar con ácido sulfúrico para volverlo más duro y resistente, perfecto para suelas de zapatos.
Estas modificaciones permiten crear materiales "a la medida" para aplicaciones específicas. Los científicos pueden diseñar polímeros con casi cualquier propiedad deseada: más flexible, más resistente, más transparente, etc.
La clave está en alterar químicamente solo los "grupos laterales" sin tocar la estructura principal de la cadena. Es como cambiar los accesorios de un auto sin modificar el motor.
Aplicación práctica: Esta flexibilidad de modificación es por lo que existe una variedad infinita de plásticos y fibras sintéticas en el mercado.

















































Nuestro compañero de IA está específicamente adaptado a las necesidades de los estudiantes. Basándonos en los millones de contenidos que tenemos en la plataforma, podemos dar a los estudiantes respuestas realmente significativas y relevantes. Pero no se trata solo de respuestas, el compañero también guía a los estudiantes a través de sus retos de aprendizaje diarios, con planes de aprendizaje personalizados, cuestionarios o contenidos en el chat y una personalización del 100% basada en las habilidades y el desarrollo de los estudiantes.
Puedes descargar la app en Google Play Store y Apple App Store.
¡Sí lo es! Tienes acceso totalmente gratuito a todo el contenido de la app, puedes chatear con otros alumnos y recibir ayuda inmeditamente. Puedes ganar dinero utilizando la aplicación, que te permitirá acceder a determinadas funciones.
App Store
Google Play
La app es muy fácil de usar y está muy bien diseñada. Hasta ahora he encontrado todo lo que estaba buscando y he podido aprender mucho de las presentaciones. Definitivamente utilizaré la aplicación para un examen de clase. Y, por supuesto, también me sirve mucho de inspiración.
Pablo
usuario de iOS
Esta app es realmente genial. Hay tantos apuntes de clase y ayuda [...]. Tengo problemas con matemáticas, por ejemplo, y la aplicación tiene muchas opciones de ayuda. Gracias a Knowunity, he mejorado en mates. Se la recomiendo a todo el mundo.
Elena
usuaria de Android
Vaya, estoy realmente sorprendida. Acabo de probar la app porque la he visto anunciada muchas veces y me he quedado absolutamente alucinada. Esta app es LA AYUDA que quieres para el insti y, sobre todo, ofrece muchísimas cosas, como ejercicios y hojas informativas, que a mí personalmente me han sido MUY útiles.
Ana
usuaria de iOS
Solía tener dificultades para completar mis tareas a tiempo hasta que descubrí Knowunity, que no solo facilita subir mi propio contenido sino que también proporciona excelentes resúmenes que hacen mi trabajo más rápido y eficiente.
Thomas R
usuario de iOS
Siempre era un desafío encontrar toda la información importante para mis tareas – desde que comencé a usar Knowunity, puedo simplemente subir mi contenido y beneficiarme de los resúmenes de otros, lo que me ayuda mucho con la organización.
Lisa M
usuario de Android
A menudo sentía que no tenía suficiente visión general al estudiar, pero desde que comencé a usar Knowunity, eso ya no es un problema – subo mi contenido y siempre encuentro resúmenes útiles en la plataforma, lo que hace mi aprendizaje mucho más fácil.
David K
usuario de iOS
¡La app es buenísima! Sólo tengo que introducir el tema en la barra de búsqueda y recibo la respuesta muy rápido. No tengo que ver 10 vídeos de YouTube para entender algo, así que me ahorro tiempo. ¡Muy recomendable!
Sara
usuaria de Android
En el instituto era muy malo en matemáticas, pero gracias a la app, ahora saco mejores notas. Os agradezco mucho que hayáis creado la aplicación.
Roberto
usuario de Android
Solía ser muy difícil reunir toda la información para mis presentaciones. Pero desde que comencé a usar Knowunity, solo subo mis notas y encuentro increíbles resúmenes de otros – ¡hace mi estudio mucho más eficiente!
Julia S
usuario de Android
Siempre estaba estresado con todo el material de estudio, pero desde que comencé a usar Knowunity, subo mis cosas y reviso los geniales resúmenes de otros – realmente me ayuda a manejar todo mejor y es mucho menos estresante.
Marco B
usuario de iOS
LOS QUIZZES Y FLASHCARDS SON SÚPER ÚTILES Y AMO Knowunity AI. TAMBIÉN ES LITERALMENTE COMO CHATGPT PERO MÁS INTELIGENTE!! ME AYUDÓ CON MIS PROBLEMAS DE RÍMEL TAMBIÉN!! Y CON MIS MATERIAS REALES OBVIO! 😍😁😲🤑💗✨🎀😮
Sarah L
usuario de Android
Antes pasaba horas buscando en Google materiales escolares, pero ahora solo subo mis cosas a Knowunity y reviso los útiles resúmenes de otros – me siento mucho más seguro cuando me preparo para los exámenes.
Paul T
usuario de iOS
La app es muy fácil de usar y está muy bien diseñada. Hasta ahora he encontrado todo lo que estaba buscando y he podido aprender mucho de las presentaciones. Definitivamente utilizaré la aplicación para un examen de clase. Y, por supuesto, también me sirve mucho de inspiración.
Pablo
usuario de iOS
Esta app es realmente genial. Hay tantos apuntes de clase y ayuda [...]. Tengo problemas con matemáticas, por ejemplo, y la aplicación tiene muchas opciones de ayuda. Gracias a Knowunity, he mejorado en mates. Se la recomiendo a todo el mundo.
Elena
usuaria de Android
Vaya, estoy realmente sorprendida. Acabo de probar la app porque la he visto anunciada muchas veces y me he quedado absolutamente alucinada. Esta app es LA AYUDA que quieres para el insti y, sobre todo, ofrece muchísimas cosas, como ejercicios y hojas informativas, que a mí personalmente me han sido MUY útiles.
Ana
usuaria de iOS
Solía tener dificultades para completar mis tareas a tiempo hasta que descubrí Knowunity, que no solo facilita subir mi propio contenido sino que también proporciona excelentes resúmenes que hacen mi trabajo más rápido y eficiente.
Thomas R
usuario de iOS
Siempre era un desafío encontrar toda la información importante para mis tareas – desde que comencé a usar Knowunity, puedo simplemente subir mi contenido y beneficiarme de los resúmenes de otros, lo que me ayuda mucho con la organización.
Lisa M
usuario de Android
A menudo sentía que no tenía suficiente visión general al estudiar, pero desde que comencé a usar Knowunity, eso ya no es un problema – subo mi contenido y siempre encuentro resúmenes útiles en la plataforma, lo que hace mi aprendizaje mucho más fácil.
David K
usuario de iOS
¡La app es buenísima! Sólo tengo que introducir el tema en la barra de búsqueda y recibo la respuesta muy rápido. No tengo que ver 10 vídeos de YouTube para entender algo, así que me ahorro tiempo. ¡Muy recomendable!
Sara
usuaria de Android
En el instituto era muy malo en matemáticas, pero gracias a la app, ahora saco mejores notas. Os agradezco mucho que hayáis creado la aplicación.
Roberto
usuario de Android
Solía ser muy difícil reunir toda la información para mis presentaciones. Pero desde que comencé a usar Knowunity, solo subo mis notas y encuentro increíbles resúmenes de otros – ¡hace mi estudio mucho más eficiente!
Julia S
usuario de Android
Siempre estaba estresado con todo el material de estudio, pero desde que comencé a usar Knowunity, subo mis cosas y reviso los geniales resúmenes de otros – realmente me ayuda a manejar todo mejor y es mucho menos estresante.
Marco B
usuario de iOS
LOS QUIZZES Y FLASHCARDS SON SÚPER ÚTILES Y AMO Knowunity AI. TAMBIÉN ES LITERALMENTE COMO CHATGPT PERO MÁS INTELIGENTE!! ME AYUDÓ CON MIS PROBLEMAS DE RÍMEL TAMBIÉN!! Y CON MIS MATERIAS REALES OBVIO! 😍😁😲🤑💗✨🎀😮
Sarah L
usuario de Android
Antes pasaba horas buscando en Google materiales escolares, pero ahora solo subo mis cosas a Knowunity y reviso los útiles resúmenes de otros – me siento mucho más seguro cuando me preparo para los exámenes.
Paul T
usuario de iOS
Mayte Carmona
@maytecarmona
¿Sabías que desde tu ropa hasta los empaques de tu comida están hechos de moléculas gigantes? Las macromoléculasson estructuras enormes formadas por miles de átomos que han revolucionado nuestro mundo moderno. Este material te ayudará a entender qué son,... Mostrar más

Acceso a todos los documentos
Mejora tus notas
Únete a millones de estudiantes
Imagínate que las moléculas fueran como bloques de LEGO: las moléculas pequeñas serían construcciones simples de 2 a 50 piezas, mientras que las macromoléculas serían castillos gigantes con miles de piezas. Las moléculas pequeñas forman el agua que bebes y el aire que respiras, pero las macromoléculas crean cosas increíbles como el plástico de tu celular o las fibras de tu ropa.
Lo fascinante es que cuando juntas moléculas pequeñas para formar una macromolécula, las propiedades cambian completamente. Es como mezclar ingredientes para hacer un pastel: el resultado final no se parece en nada a los ingredientes originales.
Las macromoléculas se dividen en dos grandes familias: los polímeros naturales (como el almidón en las papas o las proteínas en la carne) y los polímeros sintéticos (como el nylon de tu mochila o el PVC de las tuberías). Ambos tipos están formados por cadenas larguísimas de átomos, principalmente de carbono.
Dato curioso: Una sola macromolécula puede contener ¡varios millones de átomos!

Acceso a todos los documentos
Mejora tus notas
Únete a millones de estudiantes
¿Por qué los polímeros son tan geniales? Sus propiedades únicas los convierten en superhéroes de los materiales. Son como armaduras químicas: resisten ácidos, bases y el clima sin problema. Además, aguantan el desgaste y se pueden colorear fácilmente.
La magia está en su estructura. Cuando calientas un plástico, se vuelve moldeable como plastilina, permitiendo crear formas increíbles. Algunos son maleables (se convierten en láminas delgadas) y otros son dúctiles (se estiran en hilos súper finos, perfectos para textiles).
Una ventaja enorme es que la mayoría no conduce electricidad ni calor, por eso los cables están cubiertos de plástico y usamos recipientes plásticos para comida caliente. Han reemplazado materiales tradicionales como madera, vidrio y metal en muchas aplicaciones.
Tip de estudio: Recuerda que las propiedades especiales vienen de su estructura de cadenas largas, no de los átomos individuales.

Acceso a todos los documentos
Mejora tus notas
Únete a millones de estudiantes
El átomo de carbono es el arquitecto principal de las macromoléculas. ¿Por qué? Tiene dos superpoderes: tetravalencia (puede formar cuatro enlaces) y autosaturación (puede unirse con otros carbonos infinitamente). Es como tener piezas de LEGO que se conectan perfectamente entre sí.
Existen tres tipos de estructuras: lineales (como una cadena recta), ramificadas (como un árbol con ramas) y entrecruzadas (como una red de pescador). Cada estructura le da propiedades diferentes al material final.
La construcción es sorprendentemente simple: solo necesitas 8 elementos químicos (carbono, hidrógeno, oxígeno, nitrógeno, azufre, cloro, flúor y silicio) para crear miles de materiales diferentes. Es como tener una caja de herramientas básica que puede construir desde una casa hasta un avión.
Concepto clave: Cambiar la estructura (lineal, ramificada o entrecruzada) es como cambiar la receta: obtienes productos completamente diferentes.

Acceso a todos los documentos
Mejora tus notas
Únete a millones de estudiantes
Los químicos han desarrollado dos estrategias principales para crear macromoléculas: polimerización por adición y polimerización por condensación. Son como dos recetas de cocina diferentes para el mismo objetivo.
En la polimerización por adición, las moléculas se enganchan como vagones de tren. El polietileno (bolsas plásticas) se hace así: las moléculas de etileno se conectan una tras otra bajo alta presión y temperatura. Es un proceso continuo que funciona como una fábrica automatizada.
La polimerización por condensación es diferente: las moléculas reaccionan y "botan" moléculas pequeñas como agua. La baquelita se forma así cuando el fenol reacciona con formaldehído, liberando agua en el proceso. Es como armar un rompecabezas donde sobran piezas.
Un ejemplo práctico que puedes hacer en casa: mezclar formol con urea y unas gotas de ácido sulfúrico. La mezcla se endurece súbitamente porque se están formando macromoléculas. ¡Es química en acción!
Para recordar: Adición = moléculas se suman; Condensación = moléculas reaccionan y eliminan agua.

Acceso a todos los documentos
Mejora tus notas
Únete a millones de estudiantes
¿Qué pasa cuando un polímero natural no tiene exactamente las propiedades que necesitas? ¡Lo modificas! Es como personalizar tu celular: mantienes la estructura básica pero cambias las características.
La celulosa del algodón se puede transformar en acetato de celulosa para hacer fibras textiles diferentes. El caucho natural se puede tratar con ácido sulfúrico para volverlo más duro y resistente, perfecto para suelas de zapatos.
Estas modificaciones permiten crear materiales "a la medida" para aplicaciones específicas. Los científicos pueden diseñar polímeros con casi cualquier propiedad deseada: más flexible, más resistente, más transparente, etc.
La clave está en alterar químicamente solo los "grupos laterales" sin tocar la estructura principal de la cadena. Es como cambiar los accesorios de un auto sin modificar el motor.
Aplicación práctica: Esta flexibilidad de modificación es por lo que existe una variedad infinita de plásticos y fibras sintéticas en el mercado.

Acceso a todos los documentos
Mejora tus notas
Únete a millones de estudiantes

Acceso a todos los documentos
Mejora tus notas
Únete a millones de estudiantes

Acceso a todos los documentos
Mejora tus notas
Únete a millones de estudiantes

Acceso a todos los documentos
Mejora tus notas
Únete a millones de estudiantes

Acceso a todos los documentos
Mejora tus notas
Únete a millones de estudiantes

Acceso a todos los documentos
Mejora tus notas
Únete a millones de estudiantes

Acceso a todos los documentos
Mejora tus notas
Únete a millones de estudiantes

Acceso a todos los documentos
Mejora tus notas
Únete a millones de estudiantes

Acceso a todos los documentos
Mejora tus notas
Únete a millones de estudiantes

Acceso a todos los documentos
Mejora tus notas
Únete a millones de estudiantes

Acceso a todos los documentos
Mejora tus notas
Únete a millones de estudiantes

Acceso a todos los documentos
Mejora tus notas
Únete a millones de estudiantes

Acceso a todos los documentos
Mejora tus notas
Únete a millones de estudiantes

Acceso a todos los documentos
Mejora tus notas
Únete a millones de estudiantes

Acceso a todos los documentos
Mejora tus notas
Únete a millones de estudiantes

Acceso a todos los documentos
Mejora tus notas
Únete a millones de estudiantes

Acceso a todos los documentos
Mejora tus notas
Únete a millones de estudiantes

Acceso a todos los documentos
Mejora tus notas
Únete a millones de estudiantes

Acceso a todos los documentos
Mejora tus notas
Únete a millones de estudiantes

Acceso a todos los documentos
Mejora tus notas
Únete a millones de estudiantes

Acceso a todos los documentos
Mejora tus notas
Únete a millones de estudiantes

Acceso a todos los documentos
Mejora tus notas
Únete a millones de estudiantes

Acceso a todos los documentos
Mejora tus notas
Únete a millones de estudiantes

Acceso a todos los documentos
Mejora tus notas
Únete a millones de estudiantes

Acceso a todos los documentos
Mejora tus notas
Únete a millones de estudiantes

Acceso a todos los documentos
Mejora tus notas
Únete a millones de estudiantes

Acceso a todos los documentos
Mejora tus notas
Únete a millones de estudiantes

Acceso a todos los documentos
Mejora tus notas
Únete a millones de estudiantes

Acceso a todos los documentos
Mejora tus notas
Únete a millones de estudiantes

Acceso a todos los documentos
Mejora tus notas
Únete a millones de estudiantes

Acceso a todos los documentos
Mejora tus notas
Únete a millones de estudiantes

Acceso a todos los documentos
Mejora tus notas
Únete a millones de estudiantes

Acceso a todos los documentos
Mejora tus notas
Únete a millones de estudiantes

Acceso a todos los documentos
Mejora tus notas
Únete a millones de estudiantes

Acceso a todos los documentos
Mejora tus notas
Únete a millones de estudiantes

Acceso a todos los documentos
Mejora tus notas
Únete a millones de estudiantes

Acceso a todos los documentos
Mejora tus notas
Únete a millones de estudiantes

Acceso a todos los documentos
Mejora tus notas
Únete a millones de estudiantes

Acceso a todos los documentos
Mejora tus notas
Únete a millones de estudiantes

Acceso a todos los documentos
Mejora tus notas
Únete a millones de estudiantes

Acceso a todos los documentos
Mejora tus notas
Únete a millones de estudiantes

Acceso a todos los documentos
Mejora tus notas
Únete a millones de estudiantes

Acceso a todos los documentos
Mejora tus notas
Únete a millones de estudiantes

Acceso a todos los documentos
Mejora tus notas
Únete a millones de estudiantes

Acceso a todos los documentos
Mejora tus notas
Únete a millones de estudiantes

Acceso a todos los documentos
Mejora tus notas
Únete a millones de estudiantes

Acceso a todos los documentos
Mejora tus notas
Únete a millones de estudiantes

Acceso a todos los documentos
Mejora tus notas
Únete a millones de estudiantes

Acceso a todos los documentos
Mejora tus notas
Únete a millones de estudiantes
Nuestro compañero de IA está específicamente adaptado a las necesidades de los estudiantes. Basándonos en los millones de contenidos que tenemos en la plataforma, podemos dar a los estudiantes respuestas realmente significativas y relevantes. Pero no se trata solo de respuestas, el compañero también guía a los estudiantes a través de sus retos de aprendizaje diarios, con planes de aprendizaje personalizados, cuestionarios o contenidos en el chat y una personalización del 100% basada en las habilidades y el desarrollo de los estudiantes.
Puedes descargar la app en Google Play Store y Apple App Store.
¡Sí lo es! Tienes acceso totalmente gratuito a todo el contenido de la app, puedes chatear con otros alumnos y recibir ayuda inmeditamente. Puedes ganar dinero utilizando la aplicación, que te permitirá acceder a determinadas funciones.
2
Herramientas Inteligentes NUEVO
Convierte estos apuntes en: ✓ 50+ Preguntas de Práctica ✓ Tarjetas de Estudio Interactivas ✓ Examen Completo de Práctica ✓ Esquemas de Ensayo
App Store
Google Play
La app es muy fácil de usar y está muy bien diseñada. Hasta ahora he encontrado todo lo que estaba buscando y he podido aprender mucho de las presentaciones. Definitivamente utilizaré la aplicación para un examen de clase. Y, por supuesto, también me sirve mucho de inspiración.
Pablo
usuario de iOS
Esta app es realmente genial. Hay tantos apuntes de clase y ayuda [...]. Tengo problemas con matemáticas, por ejemplo, y la aplicación tiene muchas opciones de ayuda. Gracias a Knowunity, he mejorado en mates. Se la recomiendo a todo el mundo.
Elena
usuaria de Android
Vaya, estoy realmente sorprendida. Acabo de probar la app porque la he visto anunciada muchas veces y me he quedado absolutamente alucinada. Esta app es LA AYUDA que quieres para el insti y, sobre todo, ofrece muchísimas cosas, como ejercicios y hojas informativas, que a mí personalmente me han sido MUY útiles.
Ana
usuaria de iOS
Solía tener dificultades para completar mis tareas a tiempo hasta que descubrí Knowunity, que no solo facilita subir mi propio contenido sino que también proporciona excelentes resúmenes que hacen mi trabajo más rápido y eficiente.
Thomas R
usuario de iOS
Siempre era un desafío encontrar toda la información importante para mis tareas – desde que comencé a usar Knowunity, puedo simplemente subir mi contenido y beneficiarme de los resúmenes de otros, lo que me ayuda mucho con la organización.
Lisa M
usuario de Android
A menudo sentía que no tenía suficiente visión general al estudiar, pero desde que comencé a usar Knowunity, eso ya no es un problema – subo mi contenido y siempre encuentro resúmenes útiles en la plataforma, lo que hace mi aprendizaje mucho más fácil.
David K
usuario de iOS
¡La app es buenísima! Sólo tengo que introducir el tema en la barra de búsqueda y recibo la respuesta muy rápido. No tengo que ver 10 vídeos de YouTube para entender algo, así que me ahorro tiempo. ¡Muy recomendable!
Sara
usuaria de Android
En el instituto era muy malo en matemáticas, pero gracias a la app, ahora saco mejores notas. Os agradezco mucho que hayáis creado la aplicación.
Roberto
usuario de Android
Solía ser muy difícil reunir toda la información para mis presentaciones. Pero desde que comencé a usar Knowunity, solo subo mis notas y encuentro increíbles resúmenes de otros – ¡hace mi estudio mucho más eficiente!
Julia S
usuario de Android
Siempre estaba estresado con todo el material de estudio, pero desde que comencé a usar Knowunity, subo mis cosas y reviso los geniales resúmenes de otros – realmente me ayuda a manejar todo mejor y es mucho menos estresante.
Marco B
usuario de iOS
LOS QUIZZES Y FLASHCARDS SON SÚPER ÚTILES Y AMO Knowunity AI. TAMBIÉN ES LITERALMENTE COMO CHATGPT PERO MÁS INTELIGENTE!! ME AYUDÓ CON MIS PROBLEMAS DE RÍMEL TAMBIÉN!! Y CON MIS MATERIAS REALES OBVIO! 😍😁😲🤑💗✨🎀😮
Sarah L
usuario de Android
Antes pasaba horas buscando en Google materiales escolares, pero ahora solo subo mis cosas a Knowunity y reviso los útiles resúmenes de otros – me siento mucho más seguro cuando me preparo para los exámenes.
Paul T
usuario de iOS
La app es muy fácil de usar y está muy bien diseñada. Hasta ahora he encontrado todo lo que estaba buscando y he podido aprender mucho de las presentaciones. Definitivamente utilizaré la aplicación para un examen de clase. Y, por supuesto, también me sirve mucho de inspiración.
Pablo
usuario de iOS
Esta app es realmente genial. Hay tantos apuntes de clase y ayuda [...]. Tengo problemas con matemáticas, por ejemplo, y la aplicación tiene muchas opciones de ayuda. Gracias a Knowunity, he mejorado en mates. Se la recomiendo a todo el mundo.
Elena
usuaria de Android
Vaya, estoy realmente sorprendida. Acabo de probar la app porque la he visto anunciada muchas veces y me he quedado absolutamente alucinada. Esta app es LA AYUDA que quieres para el insti y, sobre todo, ofrece muchísimas cosas, como ejercicios y hojas informativas, que a mí personalmente me han sido MUY útiles.
Ana
usuaria de iOS
Solía tener dificultades para completar mis tareas a tiempo hasta que descubrí Knowunity, que no solo facilita subir mi propio contenido sino que también proporciona excelentes resúmenes que hacen mi trabajo más rápido y eficiente.
Thomas R
usuario de iOS
Siempre era un desafío encontrar toda la información importante para mis tareas – desde que comencé a usar Knowunity, puedo simplemente subir mi contenido y beneficiarme de los resúmenes de otros, lo que me ayuda mucho con la organización.
Lisa M
usuario de Android
A menudo sentía que no tenía suficiente visión general al estudiar, pero desde que comencé a usar Knowunity, eso ya no es un problema – subo mi contenido y siempre encuentro resúmenes útiles en la plataforma, lo que hace mi aprendizaje mucho más fácil.
David K
usuario de iOS
¡La app es buenísima! Sólo tengo que introducir el tema en la barra de búsqueda y recibo la respuesta muy rápido. No tengo que ver 10 vídeos de YouTube para entender algo, así que me ahorro tiempo. ¡Muy recomendable!
Sara
usuaria de Android
En el instituto era muy malo en matemáticas, pero gracias a la app, ahora saco mejores notas. Os agradezco mucho que hayáis creado la aplicación.
Roberto
usuario de Android
Solía ser muy difícil reunir toda la información para mis presentaciones. Pero desde que comencé a usar Knowunity, solo subo mis notas y encuentro increíbles resúmenes de otros – ¡hace mi estudio mucho más eficiente!
Julia S
usuario de Android
Siempre estaba estresado con todo el material de estudio, pero desde que comencé a usar Knowunity, subo mis cosas y reviso los geniales resúmenes de otros – realmente me ayuda a manejar todo mejor y es mucho menos estresante.
Marco B
usuario de iOS
LOS QUIZZES Y FLASHCARDS SON SÚPER ÚTILES Y AMO Knowunity AI. TAMBIÉN ES LITERALMENTE COMO CHATGPT PERO MÁS INTELIGENTE!! ME AYUDÓ CON MIS PROBLEMAS DE RÍMEL TAMBIÉN!! Y CON MIS MATERIAS REALES OBVIO! 😍😁😲🤑💗✨🎀😮
Sarah L
usuario de Android
Antes pasaba horas buscando en Google materiales escolares, pero ahora solo subo mis cosas a Knowunity y reviso los útiles resúmenes de otros – me siento mucho más seguro cuando me preparo para los exámenes.
Paul T
usuario de iOS